Mexen Helios badkamerradiator 800 x 500 mm, 301 W, goud - W103-0800-500-00-50

Mexen Helios badkamerradiator 800 x 500 mm, 301 W, goud - W103-0800-500-00-50

Mexen Helios badkamerradiator 800 x 500 mm, 301 W, goud - W103-0800-500-00-50
search
  • Mexen Helios badkamerradiator 800 x 500 mm, 301 W, goud - W103-0800-500-00-50
  • Mexen Helios badkamerradiator 800 x 500 mm, 301 W, goud - W103-0800-500-00-50
  • Mexen Helios badkamerradiator 800 x 500 mm, 301 W, goud - W103-0800-500-00-50
  • Mexen Helios badkamerradiator 800 x 500 mm, 301 W, goud - W103-0800-500-00-50
  • Mexen Helios badkamerradiator 800 x 500 mm, 301 W, goud - W103-0800-500-00-50
  • Mexen Helios badkamerradiator 800 x 500 mm, 301 W, goud - W103-0800-500-00-50
  • Mexen Helios badkamerradiator 800 x 500 mm, 301 W, goud - W103-0800-500-00-50
Mexen Helios badkamerradiator 800 x 500 mm, 301 W, goud - W103-0800-500-00-50
Mexen Helios badkamerradiator 800 x 500 mm, 301 W, goud - W103-0800-500-00-50 Mexen Helios badkamerradiator 800 x 500 mm, 301 W, goud - W103-0800-500-00-50 Mexen Helios badkamerradiator 800 x 500 mm, 301 W, goud - W103-0800-500-00-50 Mexen Helios badkamerradiator 800 x 500 mm, 301 W, goud - W103-0800-500-00-50 Mexen Helios badkamerradiator 800 x 500 mm, 301 W, goud - W103-0800-500-00-50 Mexen Helios badkamerradiator 800 x 500 mm, 301 W, goud - W103-0800-500-00-50 Mexen Helios badkamerradiator 800 x 500 mm, 301 W, goud - W103-0800-500-00-50
 Staal Staal
Max. 0,6 Mpa Max. 0,6 Mpa
Max. 95°C Max. 95°C
Merk:
Serie:
Ean:
5905315071552
Index:
W103-0800-500-00-50
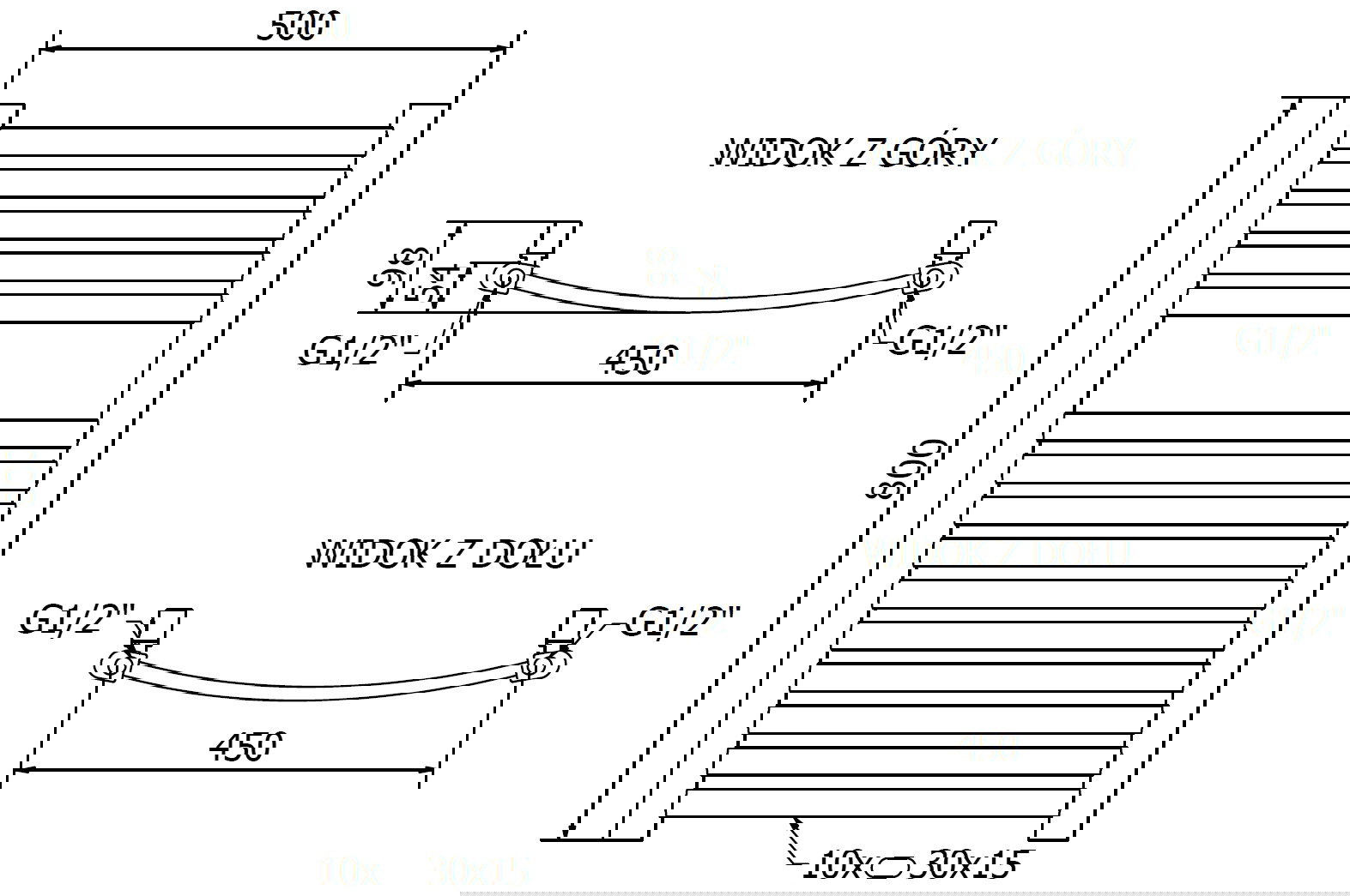
Hoogte:
800 mm
Kleur:
Breedte:
500 mm
Verwarmingsvermogen:
301 W
Breedte - 500 mm - ()
Kleur - Goud - ()

Mexen Helios badkamerradiator 800 x 500 mm, 301 W, goud - W103-0800-500-00-50

Mexen Helios is een elegante badkamerradiator in de kleur goud, met afmetingen van 800 x 500 mm. Gemaakt van duurzaam staal, kenmerkt het zich door een hoog verwarmingsvermogen van 301 W bij een temperatuur van 75/65/20 °C. De radiator heeft een brandreactieklasse A1 en een maximale werkdruk van 0,6 MPa, wat veiligheid in gebruik garandeert. De maximale werktemperatuur is 95 °C. Dankzij vier ½″-aansluitingen is het veelzijdig in montage. De set bevat haken, een montageset en een ontluchter. Een uitstekende laklaag beschermt tegen corrosie, en de mogelijkheid om een verwarmingselement te monteren verhoogt de functionaliteit van het product.

Technische gegevens:

Hoogte: 800 mm

Breedte: 500 mm

Diepte: 54 mm

Aansluithartafstand: 45 cm 

Kleur: Goud

Materiaal: Staal

Gewicht: 6,67 kg

Capaciteit: 3,5 l

Reactie op vuur: A1

Werktemperatuur: max 95 °C 

Maximale werkdruk: 0,6 Mpa

Verwarmingsvermogen:

- 75/65/20 °C - 301 W

Aansluitingen:

- 4xG ½″ aan de boven- en onderkant aan de rechter- of linkerzijde

Mogelijkheid om een verwarmingselement te monteren

Hoogwaardige, duurzame laklaag die bestand is tegen corrosie

Inclusief: ophangingen, montageset, blindstoppen en ontluchter

Innovatieve oplossingen die in dit product worden gebruikt

Staal

Het product is gemaakt van hoogwaardig laag koolstofstaal, wat niet alleen invloed heeft op de lange levensduur van het apparaat en de corrosiebestendigheid, maar ook een snelle opwarming van de ruimte mogelijk maakt en gebruikers thermisch comfort biedt.

Max. 0,6 Mpa

De maximale werkdruk is 0,6 MPa (6 bar). Dit betekent dat de radiator veilig en effectief kan functioneren onder standaard gebruiksomstandigheden. Het zorgt voor optimaal thermisch comfort en een aangename kamertemperatuur.

Max. 95°C

De maximale temperatuur die de radiator tijdens gebruik bereikt is 95°C. Dit maakt effectieve en efficiënte verwarming van de ruimte mogelijk, terwijl het de veiligheid van de gebruikers en de oppervlakken rondom de radiator garandeert.

Weerstand tegen dofheid en corrosie

Product gemaakt van hoogwaardige materialen die bestand zijn tegen dofheid en corrosie, waardoor het zijn aantrekkelijke uiterlijk en functionaliteit behoudt gedurende lange tijd van gebruik, ongeacht het vochtigheidsniveau in de kamer.

10 jaar garantie

Product wordt geleverd met een garantie van 10 jaar. Mocht u problemen ondervinden met het gekochte product, dan raden wij u aan om contact met ons op te nemen via het contactformulier of telefonisch via het informatienummer.

Serie
Breedte
500 mm
Hoogte
800 mm
Verwarmingsvermogen
301 W
Kleur
Materiaal
Staal
Montagepositie
Universeel
Diepte
54 mm
Verbindingsafstand
45 cm
Aansluiting
Onderkant
Orientatie
Verticaal
Garantievoorwaarden
Veiligheidsinformatie
Handleiding
Producent

Heb je het antwoord niet gevonden?

Schrijf ons

Mexen Helios badkamerradiator 800 x 500 mm, 301 W, goud - W103-0800-500-00-50

Mexen Helios badkamerradiator 800 x 500 mm, 301 W, goud - W103-0800-500-00-50

Catalogusprijs: € 235,40

€ 188,39 (incl. btw)

Goedkoper met € 47,01

19,97%

De laagste prijs van de laatste 30 dagen
Voor de reductie: € 188,39

 Staal Staal
Max. 0,6 Mpa Max. 0,6 Mpa
Max. 95°C Max. 95°C
Merk:
Serie:
Ean:
5905315071552
Index:
W103-0800-500-00-50
Hoogte:
800 mm
Kleur:
Breedte:
500 mm
Verwarmingsvermogen:
301 W
Breedte - 500 mm - ()
Kleur - Goud - ()
Laden...