Mexen Riva wc-kom met Rimless Tornado en softclose slim zitting, duroplast, wit glans - 30630200T

Black Week NL

Black Week NL

Mexen Riva wc-kom met Rimless Tornado en softclose slim zitting, duroplast, wit glans - 30630200T

  • Mexen in Black
Mexen Riva wc-kom met Rimless Tornado en softclose slim zitting, duroplast, wit glans - 30630200T
search
  • Mexen Riva wc-kom met Rimless Tornado en softclose slim zitting, duroplast, wit glans - 30630200T
  • Mexen Riva wc-kom met Rimless Tornado en softclose slim zitting, duroplast, wit glans - 30630200T
  • Mexen Riva wc-kom met Rimless Tornado en softclose slim zitting, duroplast, wit glans - 30630200T
  • Mexen Riva wc-kom met Rimless Tornado en softclose slim zitting, duroplast, wit glans - 30630200T
  • Mexen Riva wc-kom met Rimless Tornado en softclose slim zitting, duroplast, wit glans - 30630200T
  • Mexen Riva wc-kom met Rimless Tornado en softclose slim zitting, duroplast, wit glans - 30630200T
  • Mexen Riva wc-kom met Rimless Tornado en softclose slim zitting, duroplast, wit glans - 30630200T
Mexen Riva wc-kom met Rimless Tornado en softclose slim zitting, duroplast, wit glans - 30630200T
Mexen Riva wc-kom met Rimless Tornado en softclose slim zitting, duroplast, wit glans - 30630200T Mexen Riva wc-kom met Rimless Tornado en softclose slim zitting, duroplast, wit glans - 30630200T Mexen Riva wc-kom met Rimless Tornado en softclose slim zitting, duroplast, wit glans - 30630200T Mexen Riva wc-kom met Rimless Tornado en softclose slim zitting, duroplast, wit glans - 30630200T Mexen Riva wc-kom met Rimless Tornado en softclose slim zitting, duroplast, wit glans - 30630200T Mexen Riva wc-kom met Rimless Tornado en softclose slim zitting, duroplast, wit glans - 30630200T Mexen Riva wc-kom met Rimless Tornado en softclose slim zitting, duroplast, wit glans - 30630200T
Ceramika+ Ceramika+
Randloos "Tornado" Randloos "Tornado"
Duroplast Duroplast
Merk:
Seria:
Ean:
5905315577528
Index:
30630200T
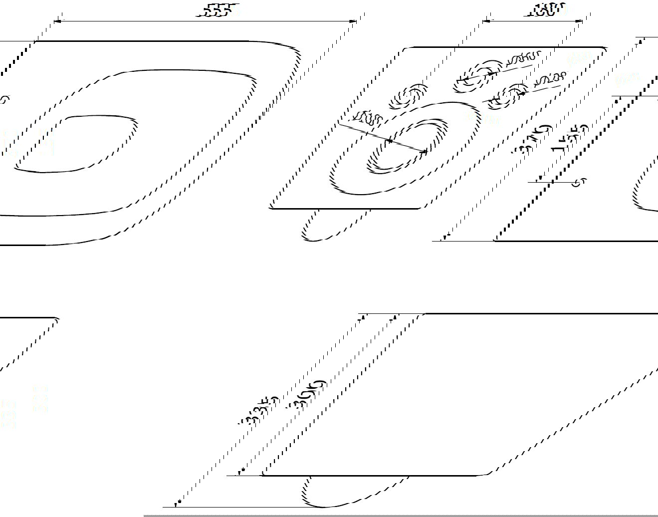
Breedte:
37 cm
Montage:
Lengte:
55,5 cm
Hoogte:
33,5 cm

Mexen Riva wc-kom met Rimless Tornado en softclose slim zitting, duroplast, wit glans - 30630200T

Productspecificaties:

Grootte: 55,5x37x33,5 cm

Installatie: Hangend

Spoelsysteem: Rimless Tornado (randloos)

Kleur: Wit glans

Materiaal: Sanitair keramiek

Type zitting: Softclose

Kleur: Wit glans

Materiaal: Duroplast

Slim versie: Ja

Eenvoudig loskoppelen: Ja

Metalen scharnieren: Ja

Innovatieve oplossingen die in dit product worden gebruikt

Ceramika+

Het product is gemaakt van keramiek van de hoogste kwaliteit. Het kenmerkt zich door weerstand tegen roest, chemische middelen en uitstekende hygiënische eigenschappen. Het is niet alleen duurzaam, maar ook gemakkelijk schoon te houden.

Randloos "Tornado"

Systeem dat wordt gekenmerkt door het ontbreken van een traditionele rand (randloos) en een specifiek, spiraalvormig spoelsysteem dat aan een draaikolk doet denken. Het spoelende water creëert het "tornado"-effect, dat snel en effectief het hele oppervlak van de kom spoelt, wat helpt bij een betere reiniging en het voorkomen van vuilophoping.

Duroplast

Stoelen gemaakt van duroplast kenmerken zich door een hoge duurzaamheid en weerstand tegen beschadigingen en dagelijks gebruik. Het gebruik van duroplast maakt vrij gebruik mogelijk en behoudt de esthetiek van het product voor een lange tijd.

Zelfsluitende toiletbril

De zelfsluitende toiletbril is uitgerust met een speciaal systeem dat het snelle en plotselinge vallen ervan remt. Het systeem elimineert effectief het probleem van klapperen met de bril en minimaliseert geluid, waardoor een soepele en stille sluiting van het toilet wordt gegarandeerd.

Gemakkelijk los te maken

Het systeem voor het gemakkelijk losmaken van de bril vergemakkelijkt het handhaven van perfecte reinheid en hoge hygiëne in het toilet. Hierdoor wordt het regelmatig reinigen van de bril en moeilijk bereikbare plaatsen eromheen veel gemakkelijker en comfortabeler.

Slank

Dunne plank met een uitzonderlijk ergonomische vorm en een uiterst slank uiterlijk. Het ontwerp past perfect in een modern badkamerinterieur en geeft een gevoel van lichtheid. Een uitstekende keuze voor minimalistische inrichtingen.

Metalen scharnieren

De set bevat stevige metalen scharnieren die zorgen voor een stabiele bevestiging van de bril aan de wc-pot. Dit is een praktische oplossing die het eenvoudig maakt om de bril aan te passen aan de vorm en afmetingen van het toilet, wat zorgt voor gebruiksgemak.

Montage met inbouwframe

Het gebruik van een inbouwframe voor het monteren van keramiek biedt de mogelijkheid om deze op te hangen. Op deze manier kunnen we niet alleen een moderne uitstraling van de badkamer bereiken, maar ook de ruimte vergroten en het gemakkelijker schoon te houden.

Verborgen installatie

Modern systeem waarin alle montage-elementen zijn verborgen. Dit is niet alleen esthetisch, maar ook een zeer praktische oplossing. Het vergemakkelijkt het schoonhouden van de badkamer en zorgt voor een nette uitstraling van de badkamer.

Glans

Keramiek met glans is elegant en tijdloos. Het voegt een uitzonderlijke glans toe aan de badkamer, benadrukt de esthetiek ervan en brengt meer elegantie in het interieur. Glans weerkaatst licht, waardoor het een gevoel van vergroting en helderheid geeft.

UV-bescherming

Het product kenmerkt zich door een hoge weerstand tegen temperatuursveranderingen en UV-straling. De kleur vervaagt niet en verbleekt niet onder invloed van zonlicht, waardoor het er lang mooi uitziet, ongeacht de omstandigheden.

Weerstand tegen dof worden

Het oppervlak van het product is bestand tegen dof worden en behoudt zijn uitzonderlijke glans gedurende vele jaren gebruik, mits het goed wordt onderhouden. Regelmatig schoonmaken zorgt voor een esthetisch uiterlijk en duurzaamheid van het product.

PerfectClean

Het product heeft een glad oppervlak dat betovert met zijn glans en de esthetische uitstraling benadrukt. Dagelijks onderhoud en het reinigen van het oppervlak van de opkomende vervuilingen is veel gemakkelijker en vereist geen sterke reinigingsmiddelen.

2 jaar garantie

Het product heeft 2 jaar garantie. Bij problemen met het gekochte product raden we aan contact op te nemen via het contactformulier of telefonisch via het nummer van de klantenservice.

Serie
Lengte
55,5 cm
Breedte
37 cm
Hoogte
33,5 cm
Kleur
Wit
Oppervlakte
Glans
Inbegrepen
Zonder kraag
Ja
Montage
Beschermlaag
Ja
Spoelsysteem
Randloze Tornado
Gebruikershandleiding - wc-pot
Gebruiksaanwijzing - toiletbril
Informatie over veiligheid - wc-pot
Veiligheidsinformatie - toiletbril
Garantiebepalingen
Producent

Heb je het antwoord niet gevonden?

Schrijf ons

Mexen Riva wc-kom met Rimless Tornado en softclose slim zitting, duroplast, wit glans - 30630200T

Mexen Riva wc-kom met Rimless Tornado en softclose slim zitting, duroplast, wit glans - 30630200T

Catalogusprijs: € 207,30

€ 165,89 (incl. btw)

Goedkoper met € 41,41

19,98%

De laagste prijs van de laatste 30 dagen
Voor de reductie: € 137,10

Ceramika+ Ceramika+
Randloos "Tornado" Randloos "Tornado"
Duroplast Duroplast
Merk:
Seria:
Ean:
5905315577528
Index:
30630200T
Breedte:
37 cm
Montage:
Lengte:
55,5 cm
Hoogte:
33,5 cm
Laden...